Parc pour les enfants Teide
Marque: Garden Games
Description
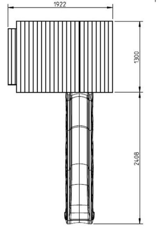
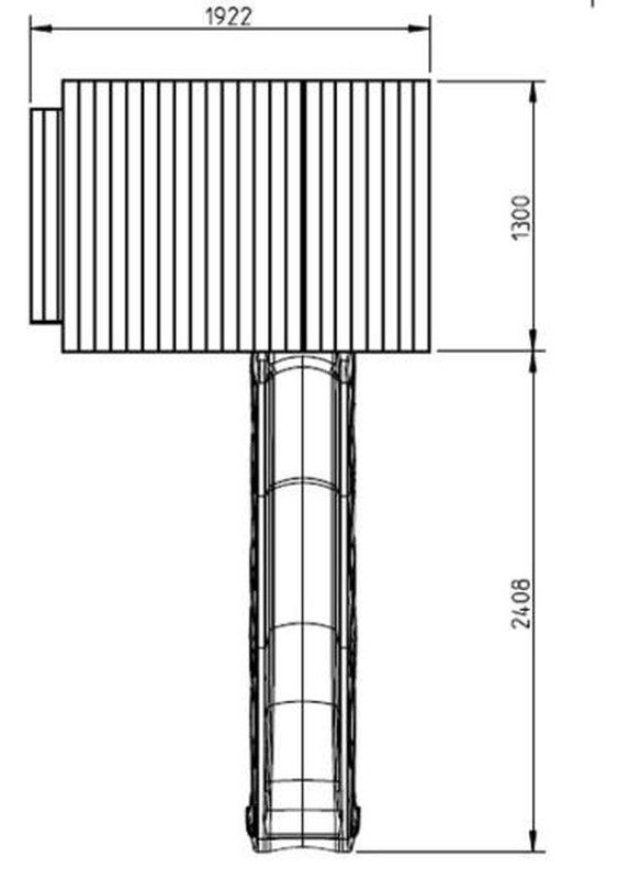
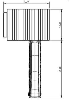
Teide aire de jeux. Fabriqué avec les meilleurs matériaux. Excellente qualité de bois et de plastiques injectés. Matériaux résistants aux intempéries et aux rayons UV. Comprend un jeu d'ancrages pour l'attacher au sol ou au sable. Il peut être complété avec d'autres éléments et ainsi étendre ses utilisations. Le modèle Teide Children's Park comprend une maison en bois surélevée accessible par une rampe en plastique à échelle en bois, une rampe d'escalade verticale avec des pierres d'escalade, un tiroir en bois dans la base pouvant servir de bac à sable. et une table avec banc pour se reposer tout en faisant une activité amusante mais plus calme.























Excelente servicio, muy rápido, más de lo esperado
Comment fonctionnent les avis et les notes ?
Les avis et évaluations des produits sont majoritairement formulés par les clients enregistrés qui ont acheté le produit. ces avis apparaissent avec une marque "achat vérifié". Dans tous les autres cas non cette marque apparaît. La note du produit, sur 5 étoiles, est obtenue avec la moyenne de toutes les notes publiées du produit. Pour garantir que l'information soit utile à d'autres clients, les avis et notes, qu'ils soient positifs ou négatifs, sont publiés après une validation préalable.